
“月亮”出没上海
一轮海上明月融入世纪公园的自然绿意,隐身在上海当代艺术博物馆的一楼大厅,穿过地铁人民广场...
正规配资 2025-10-04 33

紧急通知!航班全部取消!停工、停产、停运、停业、停课!台风“麦德姆”来袭!
...
万生平台 2025-10-04 34

跨界文旅融合,宝山非遗造物集喜迎双节
十月的宝山滨江精彩纷呈,不仅有十一前后的无人机表演和烟花秀,长滩艺术节、涂鸦音浪、...
万生平台 2025-10-04 30

纪念|珍一直在行动
编者按:当地时间10月1日,著名灵长类动物学家珍古道尔去世,享年91岁。1991年,珍...
亿通速配 2025-10-04 32

开劳斯莱斯闪灵出车祸被交警认定全责,知名车评人陈震道歉
10月4日下午,知名车评人陈震就一起交通事故发文致歉:“我都看...
正规配资 2025-10-04 34
于东来面试刑释人员视频曝光:不要自卑,每个人都犯过错
原文标题:《于东来面试刑释人员视频曝光:不要自卑,每个人都犯过错,30 人被录取,入...
正规配资 2025-10-04 33

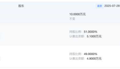
恒道科技答复北交所首轮问询:国内市场份额约占2.96%,业绩增长依赖与比亚迪的合作
9月30日,浙江恒道科技股份有限公司(恒道科技,874202.NQ)回复北京证券交...
亿通配资 2025-10-04 36
“千万粉丝车评人”陈震就车祸事件道歉!
...
亿通资讯 2025-10-04 31

台风“麦德姆”或将正面袭击雷州半岛,湛江已宣布“五停”
据微信公众号“湛江发布”10月4日下午消息,据气象部门监测预报,台风“麦德姆”将于5...
亿通速配 2025-10-04 41

受台风天气影响 明天海南岛内所有列车停运
...
万生平台 2025-10-04 37